T型微流控芯片中微液滴破裂的數值模擬
隨著MEMS技術的迅猛發展,微流控芯片實驗室(Lab-on-chip)已可將生物或化學實驗室微縮到一塊數平方厘米的芯片上。微流控芯片在生物醫學多相流研究領域有廣泛的應用,如DNA聚合酶鏈式反應分析,蛋白質結晶過程,制備微納米球顆粒等。
微流控芯片的各種應用中,微液滴技術在近年來得到了快速的發展。所謂微液滴技術是基于微流控芯片發展起來的一種全新的操縱微小體積液滴的技術,可以實現微液滴的穩定生成,表面處理,破裂,融合及多層液滴制備等。微液滴可作為容器進行酶反應動力學分析、微球顆粒的合成、蛋白質結晶分析、微生物培養及臨床上的藥物緩釋等。此外在工程應用領域,微液滴還可以作為高精度成像技術里的感光劑,噴墨系統的添加劑,食品中的添加劑等。
微液滴的尺寸均一度,單分散性和數量需求使得利用特殊方法使微液滴再破裂尤為重要。Shia等提出了液滴的主動破裂和被動破裂機理;Link等實現了微液滴在多階T型結構破裂,顯著提升了液滴的數量;Jullien等實驗研究了T型交錯結構處微液滴隧道破裂和阻塞破裂兩種機理;Menech應用相場方法模擬了三維大液滴在T型結構處的破裂,探究了液滴破裂的影響因素。賀麗萍等采用VOF方法模擬了微管道末端微液滴破裂生成的過程;劉志鵬等研究了T型節點下游處的射流狀和滴狀兩種液滴生成方式。
目前的研究主要集中在實驗測量,由于實驗工況的限制無法深入探究微液滴是否發生破裂的條件和機理。數值模擬方面,研究者一般采用相場方法和格子玻耳茲曼方法進行研究,由于計算量較大,尚未開展較小毛細數工況的模擬,且尚無利用VOF方法進行數值模擬的成功先例。因此,本文擬通過Fluent軟件的VOF模型模擬T型微通道內微液滴的被動破裂過程,研究主流流體表觀速度,微液滴大小和兩相黏性等因素對液滴破裂機理的影響,總結發生破裂的預測方法,為工程實際應用提供指導。
1數理模型
1.1控制方程
在微尺度條件下,油水兩相均視為不可壓縮黏性流體。忽略重力后,連續性方程和動量方程可簡化為
式中F為表面張力。
微尺度條件下表面張力的作用由連續表面力模型(CSF)模擬,本課題組曾采用此模型成功模擬了微通道中Taylor氣泡的生成過程.獲得了兩相體積分數后,油水相界面采用PLIC算法進行幾何界面重。N-S方程的數值求解中,選用 PRESTO!算法為壓力插值方案,壓力速度耦合采用 PRESTO算法。Courant數,時間步長、亞松弛迭代因子等參數在計算過程中根據計算結果的穩定性以及收斂性選取。
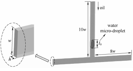
1.2型微通道的結構及幾何尺寸
1.3模型有效性驗證
為了驗證本文模型,針對Jullien等的微液滴破碎實驗進行了模擬,結果如圖)所示。實驗中通道截面為80um*80um,連續相為水,離散相為氟化油,黏度比為1.67,表面張力為0.0154N-m-1毛細數ca=0.016。從圖中可以看出,數值模擬與實驗吻合較好,驗證了本文模型的有效性。
圖1T型交錯結構的幾何模型
圖2模型有效性驗證
2結果與討論

2.1微液滴的流型
初始時刻微液滴被主流流體包圍,在垂直段主流流體的推動下,微液滴由于表面張力的作用而發生變形且穩定向下流動。在不同的黏度比和毛細數下,微液滴通過T型通道交叉截面時會出現破裂或者不破裂兩種情形,結果分別如圖3圖4所示。
圖3微液滴破裂
圖4微液滴未破裂
圖3是微液滴破裂的過程,微液滴受到主流流體的剪切作用,在T型微通道交錯處發生較大變形而向兩側伸展,最后掙脫表面張力,破裂為兩個同樣大小的子液滴,并分別流向水平段兩側。這里表面張力和流動剪切力占據主導地位,微液滴破裂是由于在交錯結構處隨著主流流體的不斷沖擊使得流動剪切力大于表面張力而掙脫其束縛發生了破裂。圖4中微液滴在交錯處擠壓變形同時向兩側延展,此時流體的剪切力不足以使微液滴掙脫表面張力的束縛而斷裂,最后在微小隨機擾動下而流向任意一側。
2.2臨界毛細數
微流體流動過程中,微液滴的破裂與否關鍵在于表面張力和流動剪切力的競爭。在微尺度條件下,常用毛細數ca來表征表面張力和黏性作用力的影響
式中;u和u分別為主流流體的流速及黏度,a為表面張力。對于一定軸向長度的微液滴lo,必然存在一個臨界毛細數ca,當大于這個數值時,微液滴發生破裂,否則不破裂。Link等提出了微液滴發生破裂的臨界毛細數ca與微液滴的軸向相對長度$的關系式

圖5臨界毛細數與微液滴相對軸向長度$*的關系
2.3兩相黏度的影響
黏度是流體黏滯性的量度,黏度越大內摩擦力越大。通過改變主流流體黏性,探討了黏度比對微液滴破裂的影響。發現黏度比越小,微液滴越不易發生

圖6臨界毛細數與微液滴相對軸向長度$*的關系
由圖5-7可以發現,在相同的液滴初始尺寸下,臨界毛細數隨兩相黏度比。的增大而減小。這是因為。的增大意味著連續相黏度的減小,但是兩相的表面張力不變,要使得液滴破裂,必須提升流速。由于流速對臨界毛細數的影響要大于黏度的影響,即小幅提升流速即可導致液滴破裂,因此。的增大會使臨界毛細數減小。
3結論
本文以微流控芯片內的液液兩相流為研究對象,通過VOF模型數值模擬了T型微通道內微液滴破裂的過程,獲得了較好的相界面,得到以下結論。
圖7臨界毛細數與$的關系
(1)微液滴在T型交錯結構處有破裂和不破裂兩種可能,是否破裂由臨界毛細數決定。高于此毛細數時液滴發生破裂,生成兩個大小一致的子液滴,當Ca數較小時微液滴不發生破裂而沿著T型通道流向任一側。
(2)通過多個工況的計算,擬合了不同黏度比下臨界毛細數與微液滴相對軸向長度的關系。
(3)探討了黏度比對微液滴破裂的影響,發現相同流速下,主流流體黏性越大,微液滴越易發生破裂。
文獻來源化工學報 DOI:10.3969/j.issn.0438-1157.2012.04.001 作者:王澎 陳斌(轉載僅供參考學習及傳遞有用信息,版權歸原作者所有,如侵犯權益,請聯系刪除)
