流動聚焦型微流控芯片微通道結構優化
引言
微流控芯片是把化學和生物等領域所涉及的基本操作單元集成到一塊幾平方厘米的芯片上,并在微小通道內操縱微小體積流體的技術。它具有使用樣品體積小、檢測效率高、成本低和易于集成等優點,被廣泛應用于食品、生物、化學和醫學等領域。
液滴微流控芯片設計的關鍵在于通道結構和通道尺寸的設計。根據液滴生成方式的不同,可以將微通道的結構分為T型微通道、流動聚焦型微通道、毛細管共軸型微通道、階梯型微通道等。在這些通道中流動聚焦型微通道具有結構簡單、生成的液滴大小易控、單分散性好的特點,其應用較為廣泛。為此,學者們展開了一系列相關的研究,劉趙淼等利用FLUENT軟件針對微流控芯片中微滴的生成進行了研究,發現隨通道深度和縮頸段深度的增大,生成微滴的尺寸逐漸增大,且兩相夾角θ=90°時,生成微滴的尺寸和頻率達到最優。Chio等利用機械應變使微通道尺寸在1~10 μm之間變化,從而得到了尺寸、形狀多樣性的微滴。Han等利用COMSOL軟件對微流控芯片進行仿真,發現隨著兩相流量比和界面張力的增加,所生成的微滴的直徑逐漸增大,頻率逐漸降低。然而,在目前的研究中學者們更多關注于單一因素或兩種因素變化時對液滴生成的影響,而對多個因素進行綜合分析的研究相對較少。
筆者利用FLUENT仿真軟件對正交試驗中16種不同結構尺寸的微流控芯片進行微滴生成的數值模擬分析。探究了連續相微通道進口寬度、離散相微通道進口寬度、微通道出口寬度和芯片通道的深度4個因素對微滴生成的影響。最后,結合理想解法對仿真結果進行綜合分析,得出這16種芯片的優劣次序。為液滴微流控芯片的設計和結構優化提供參考。
1 微流控芯片的數值模擬模型
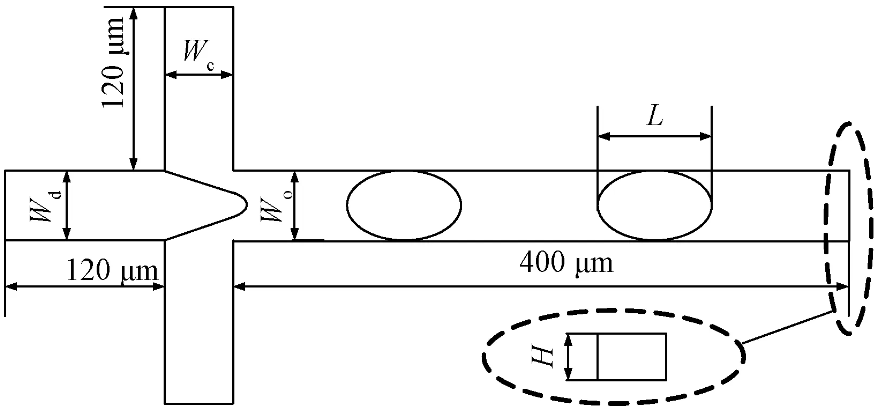
1.1 幾何模型
為使通道內的微流體發展成為層流,并能滿足無滑邊界條件,參考王維萌等的研究取離散相和連續相進口微通道長度為120 μm。為便于對微滴生成情況進行觀察和統計,取流體出口微通道長度為400 μm。由于微通道的寬度為變量,用Wd表示離散相進口寬度,用Wc表示連續相進口寬度,用Wo表示微通道出口寬度,用H表示微通道的深度,建立如圖1所示的幾何模型。
圖1 流動聚焦型微通道幾何模型
為實現流動聚焦型微通道結構參數的合理搭配,建立多組不同結構參數的數值仿真模型,對連續相微通道進口寬度、離散相微通道進口寬度、微通道出口寬度和芯片通道的深度4個影響因素進行綜合分析。結合薛城等[9]的研究設計出如表1所示的L16(44)流動聚焦型微通道結構參數正交試驗設計表。
表1 流動聚焦型微通道結構參數正交試驗設計
1.2邊界條件和相關參數的設置
PDMS具有高透光率和良好的化學惰性,在實際工程中應用比較廣泛。Ren等利用這種材料和BiFeO3納米粒子研制了一種壓電納米發電機。文中數值模擬的相關參數也基于PDMS材料進行設置。為保證生成的微液滴具有均一性和分散性,參考文獻的相關設置和結論,采用流動聚焦型微通道作為微滴的生成設備,并以氟油為連續相,去離子水為離散相,兩相流的物性參數如表2所示。兩相界面張力為0.01 N/m,接觸角為140°。設置邊界條件為壁面無滑移,微通道內的流體為不可壓縮定常流動。并將流體入口設置為速度入口,微通道出口設置為壓力出口,出口壓力為0。壓力速度耦合采用PISO算法,壓力差值以及對流量高階值的計算采用PRESTO算法和二階迎風差分方式,各項的收斂殘差設置為10-3,時間步長設置為10-5s。
表2 兩相流的物性參數表
1.3 網格無關性檢驗
筆者采用正六面體網格對模型進行劃分。為消除劃分網格大小對計算結果產生的影響,以截面尺寸為45 μm×45 μm的流動聚焦型微流控芯片為模型,取2、3、4、5、6.7 μm 5組網格尺寸,對數值模擬中的網格進行獨立性驗證。參考Chen等對液滴體積的計算公式,計算出各網格尺寸對應的液滴直徑。當vd=vc=0.01 m/s,液滴直徑隨網格尺寸的變化如圖2所示。
圖2 網格無關性檢驗
由圖2可知,當網格尺寸在2~3 μm時,液滴直徑幾乎不發生變化。為節省計算時間和便于劃分網格,采用2.5 μm×2.5 μm×2.5 μm的正六面體網格對模型進行劃分和計算。
2 結果分析與討論
2.1 微流控芯片中液滴生成的模擬結果
為便于對試驗結果進行分析,根據離散相進口寬度的不同,將16種仿真結果按試驗序號依次均勻分成4行,流動聚焦型微流控芯片內部兩相流的仿真結果見圖3。由圖3可知,1、6、11、16仿真組所生成的液滴直徑相對于同一行的其他仿真組所生成的液滴直徑較大,且生成液滴的頻率相對于其他仿真組較小。3、8、9、14仿真組所生成的液滴直徑相對于同一行中其他仿真組所生成的液滴直徑較小,且生成液滴的頻率相對于其他仿真組較大。這是因為隨著微通道十字交叉出口寬度的減小,在十字交叉出口處流體壓力逐漸增大,使生成的微液滴直徑減小,生成頻率增加,這與劉趙淼等[5]的研究結果相符合。
圖3 不同通道尺寸下微滴的生成圖
2.2 利用理想解法對仿真結果進行分析
理想解法是一種較好的多目標優化分析方法,被研究人員廣泛應用于建筑、金融等分析方法中。加權理想解法通過分析被評價對象距離正負理想解的遠近,評價出被評價對象的優劣程度,它是一種簡單、有效的微流控芯片結構綜合分析方法。
在數值仿真過程中利用FLUENT軟件中的監測模塊,監測流動聚焦微流控芯片中距離十字交叉出口300 μm處微通道截面上離散相的體積分數,可以得到單個液滴的生成周期F1;通過監測流動聚焦微流控芯片連續相進口的流量,可以求出單位時間內試劑的損耗量F2。利用基數疊加法以原模型結構尺寸的加工成本為基數,優化的尺寸每減少5 μm,加工成本在原來的基礎上就增加10%,通過對總成本的量化處理可得微通道總的加工成本指數F3,實驗結果如表3所示。
將所有評價指標組成矩陣(aij)16×3并借助MATLAB數據分析軟件對表3中的實驗數據進行TOPSIS算法求解。根據各目標值在工程實際應用中所占的比重,取F1、F2、F3三者的加權值分別為30、40、30,對矩陣 (aij)16×3進行歸一化處理。
表3 正交試驗結果分析表程序的運行結果如表4所示。
表4為理想解法的綜合評價結果表,由表4可以看出16種流動聚焦型微流控芯片尺寸結構的優劣次序。顯而易見,第14組實驗為最優結果,其評價值為0.691 23,大于其他各組的評價值。也即是當離散相微通道進口寬度為40 μm、連續相微通道進口寬度為30 μm、微通道出口寬度為25 μm、芯片深度為20 μm時所得到的芯片的尺寸結構最優。
表4 TOPSIS綜合評價結果表
2.3 優化前后結果的對比
流動聚焦型微流控芯片結構尺寸優化前后仿真結果對比如圖4所示。從圖4中可以看出,優化后微滴直徑減小,微滴生成頻率增加,單位時間內消耗的連續相試劑量減小。
圖4 優化前后液滴生成結果對比
表5所示為芯片優化前后評價結果對比表。從表5中可以看出,優化后評價值F比原來增加了0.243 06。
表5 優化前后評價結果對比表
3 結論
(1)隨著十字交叉出口微通道寬度的減小,所生成液滴的直徑逐漸減小,生成液滴的頻率逐漸增加。
(2)通過對流動聚焦型微流控芯片各尺寸的綜合分析可知,當離散相微通道進口寬度為40 μm、連續相微通道進口寬度為30 μm、十字交叉出口微通道寬度為25 μm、芯片深度為20 μm時可以得到最優的微流控芯片結構尺寸。
(3)優化后的流動聚焦型微流控芯片的評價值比優化前提高了0.243 06。
免責聲明:文章來源網絡 以傳播知識、有益學習和研究為宗旨。 轉載僅供參考學習及傳遞有用信息,版權歸原作者所有,如侵犯權益,請聯系刪除。
標簽:   微流控芯片
